FPF2313L:双输出可调限流开关

FPF2313L FPF2310/12/13/13L是IntelliMAX™ 系列的双通道负载开关。 FPF2310/12/13/13L是由独立、限流、带压摆率控制的P沟道MOSFET双功率开关组成。 压摆率打开可防止浪涌电流对电源电压轨进行干扰。 输入电压范围在1.8V至5.5V之间,可满足当今USB器件的电源要求。 开关控制是通过能够直接连接低压控制信号的逻辑输入(ON)来实现的。对于FPF2312,如果恒流情况在10ms后仍存在,器件将关闭开关。 FPF2310具有自动重启特性,如果ON引脚在150ms后仍处于激活状态,则该功能会重新启动开关。 FPF2313/13L将保留在恒流模式中,直至开关电流降至限流以下。 对于FPF2310至FPF2313/13L,最小限流为400mA-600mA,每个开关的精度为10% (+25°C),以符合便携式器件中USB应用。      FPF2310M/12/13/13L系列采用节省空间的8引脚、3x3mm MLP封装。

技术特性
  • 1.8V到5.5V的输入电压范围
  • 在IN = 5.5V时,典型值为RON= 75mΩ
  • 400~600mA可调限流
  • 典型限流精度为10%
  • 压摆率控制
  • ESD保护,超过4000V HBM
  • 独立热关断功能
  • UVLO
  • 输出放电
  • 符合RoHS标准
应用
  • 多媒体平板电脑
  • 存储和外设
  • 手机
  • WLAN网卡和宽带接入
  • PMP/MP3播放器
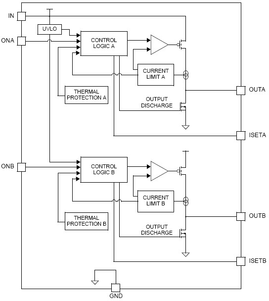
功能图框 FUNCTIONAL BLOCK DIAGRAM

FPF2313L 功能图框

订购信息 Ordering Information
产品 生态状况 价格 封装信息 封装标记规则 资格支持
FPF2313LMPX 量产 $0.406 MLP 3x3 8L (Power 33) 示意图
胶带卷轴
第一行:$Y (飞兆徽标) 
&Z (工厂编码) 
&2 (2 位日期代码) &K
第二行:FPF
第三行:2313L
FIT :  1.5  
ESD (CDM) :  2000  V
ESD (HBM) :  4000  V
应用指南
应用指南 说明
AN-8019 使用整合式負載開關和降壓轉換器組合設計更可靠的 USB 數據機(469 K) 2013年4月03日
AN-8020 Integrated Slew Rate Controlled Switch Optimizing 1V Core in Mobile Systems(400 K) 2011年3月03
数据资料DataSheet下载
概述 文档编号/大小 版本
双输出可调限流开关 FPF2313L(417.0kB) 1